Запасные части ЧТЗ Запасные части ЧТЗ
Семей
Например:
Актобе
Алдан
или
Выбрать автоматически
Актобе
Алдан
Алматы
Алчевск
Архангельск
Астана
Астрахань
Атырау
Баку
Балашиха
Барнаул
Белгород
Бердянск
Бишкек
Владивосток
Владикавказ
Воркута
Воронеж
Горловка
Грозный
Донецк
Екатеринбург
Иваново
Ижевск
Иркутск
Казань
Калининград
Каменск-Уральский
Караганда
Каховка
Кемерово
Киров
Комсомольск-на-Амуре
Костанай
Краснодар
Красноярск
Красный луч
Ленск
Луганск
Магадан
Магнитогорск
Макеевка
Махачкала
Мелитополь
Минск
Мирный (Якутия)
Москва
Мурманск
Нерюнгри
Нижневартовск
Нижний Новгород
Нижний Тагил
Новая каховка
Новокузнецк
Новосибирск
Новый Уренгой
Норильск
Ноябрьск
Нур-Султан
Омск
Оренбург
Ош
Павлодар
Пермь
Петрозаводск
Петропавловск
Петропавловск-Камчатский
Псков
Ростов-на-Дону
Салехард
Самара
Санкт-Петербург
Саратов
Севастополь
Семей
Симферополь
Сочи
Ставрополь
Сургут
Сыктывкар
Тараз
Ташкент
Токмак
Томск
Тында
Тюмень
Ульяновск
Усинск
Усть-Каменогорск
Уфа
Хабаровск
Ханты-Мансийск
Херсон
Челябинск
Чита
Шымкент
Экибастуз
Энергодар
Южно-Сахалинск
Якутск
Ваш город
Семей
Войти
Запасные части к тракторам на одном сайте
+7 (932) 303-00-10
+7 (932) 303-00-10
г. Семей, ул. Оборонная, д. 63/1а
Пн-Пт: 9:30-18:30 Cб-Вс: Выходной
Отправить заявку


Ремонт топливного насоса Т-170 Б-170 ТНВД трактора в Семей


/
с НДС 20%
Описание

Снятие топливного насоса Т-170

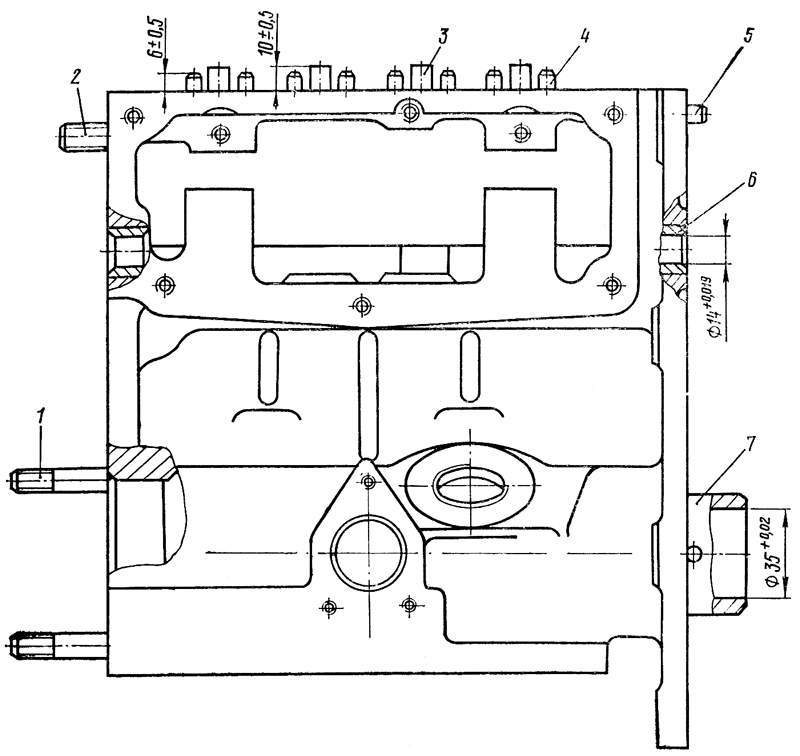
Насос топливный

Рис. 158. Насос топливный

Отверните пробку 24 ( рис. 158 ) и слейте масло из насоса. Для снятия топливного насоса с регулятора снимите крышку люка корпуса регулятора и отсоедините от тяги 4 рейки насоса тягу, соединяющую ее с двуплечим рычагом регулятора. Отсоедините сливную трубку. Снимите топливоподкачивающий насос 22. Отверните шесть гаек со шпилек крепления топливного насоса и снимите его.

Разборка топливного насоса Т-170

Отверните шесть болтов крепления, снимите крышку 19 бокового люка с прокладкой, поводок 18 с рейкой 20 и секции 16 насоса. Закрой- те отверстия топливоподводящих трубок 15 деревянными пробками. Отверните три болта крепления крышки корректора и снимите ее вместе с прокладкой.

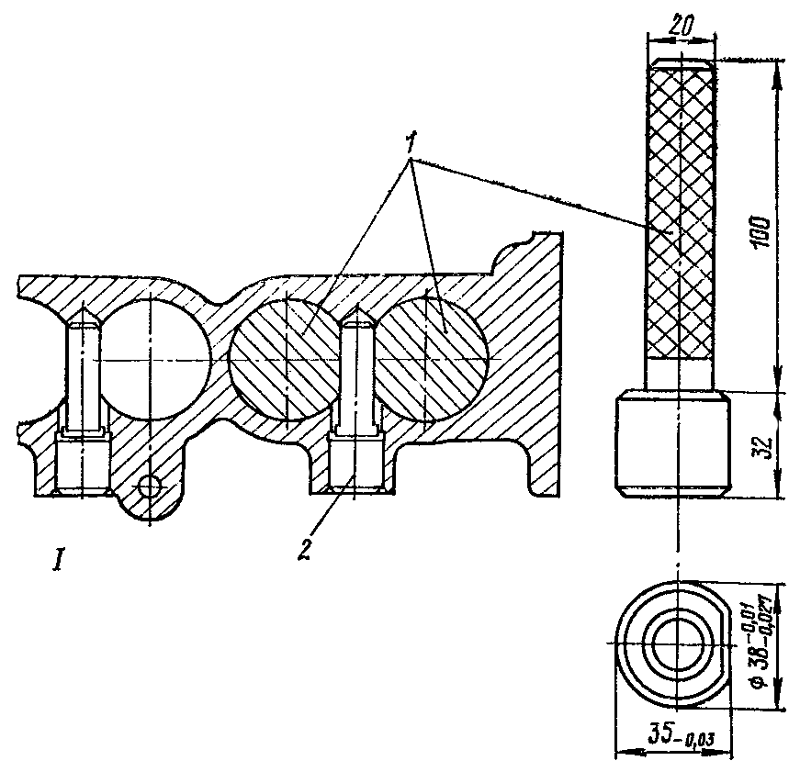
Тяга рейки

Рис. 159. Тяга рейки

Снимите упорное кольцо тяги рейки ( рис. 159 ), для чего снимите проволочное кольцо 2 и выньте стопорный штифт 1 из отверстий кольца и тяги. Выньте тягу 4 ( см. рис. 158 ) рейки из корпуса насоса. При необходимости отверните с тяги контргайку 3, выньте стопорный угольник 6 и отверните муфту 8.

Корректор цикловой подачи топлива

Рис. 160. Корректор цикловой подачи топлива

Отогните края замковой пластины 1 ( рис. 160) с граней болтов крепления деталей корректора цикловой подачи топлива, выверните болты и снимите детали 2, 8 и 9 корректора вместе с установочными штифтом 7.

Отверните со шпильки гайку крепления прижима заглушки 13 ( см. рис. 158 ) топливного насоса и снимите их вместе с уплотнительным резиновым кольцом 14. Для снятия заглушки в ней имеется резьбовое отверстие М8.

Выверните из нижней крышки блока переходный штуцер сливной трубки. Отверните шесть болтов крепления нижней крышки и снимите ее вместе с прокладкой.

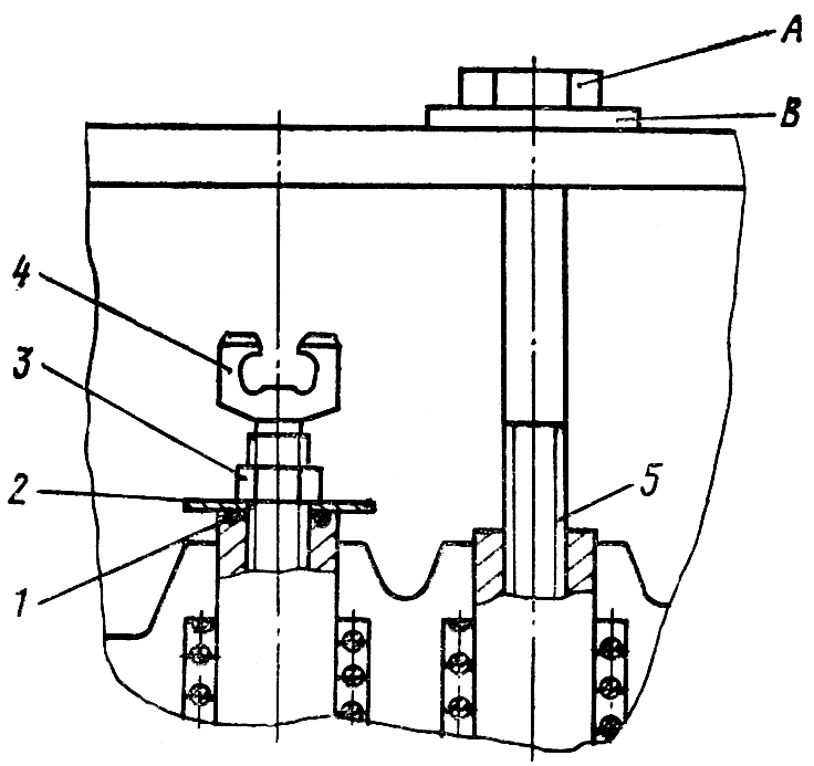
Ослабьте затяжку контргаек 10 регулировочных хвостовиков 12 толкателей, выверните хвостовики вместе с контргайками и снимите тарелки 11. Отверните со шпилек крепления подшипника, 28 четыре гайки и снимите крышку 30 подшипника с прокладкой.

Выньте кулачковый валик 26 вместе с подшипником 28 и прокладкой, поворачивая его так, чтобы затылки кулачков становились против толкателей, утопив их в Гнездах корпуса насоса.

Установка регулировочных хвостовиков и приспособление для подъема толкателей

Рис. 161. Установка регулировочных хвостовиков и приспособление для подъема толкателей

Для того чтобы утопить толкатели в гнездах насоса, применяйте болты с резьбой М10Х1 и шайбы ( рис. 161 ). Наденьте на болт А шайбу В и вверните болт в резьбовое отверстие толкателя 5. Завинчивая болт, утопите толкатели до такого положения, когда можно свободно вынуть кулачковый валик.

Предупреждение

Удерживайте толкатели, чтобы не выскочили под действием пружины.

Выньте толкатели 9 ( см. рис. 158 ) вместе с пружинами 7 из гнезд блока насоса. Выньте резиновое кольцо из выточки в торце толкателя 9. Отогните края замковой пластины 1 с граней болтов 2 крепления упорной шайбы 29 кулачкового валика. Выверните два болта и снимите упорную шайбу с замковой пластиной. Снимите с шейки валика подшипник 28.

Выпрессуйте съемником ПИМ-640.120 направляющие пальцы 23 толкателей из корпуса насоса. Для съемника в пальцах имеется резьба М8. Выверните при необходимости шпильки крепления подшипника 28 и шпильку крепления заглушки 13.

Блок топливного насоса

Рис. 162. Блок топливного насоса

Выпрессуйте при помощи ступенчатой оправки втулки 6 ( рис. 162 ) тяги рейки, переднюю втулку 7 кулачкового валика и втулку 2 ( рис. 163 ) из корпуса 1 заднего подшипника.

Задний подшипник кулачкового валика

Рис. 163. Задний подшипник кулачкового валика

Штифты и топливоподводящие трубки выпрессуйте при необходимости их замены.

Приспособление ПИМ-640.030 для выпрессовки и запрессовки оси ролика толкателя топливного насоса

Рис. 164. Приспособление ПИМ-640.030 для выпрессовки и запрессовки оси ролика толкателя топливного насоса

Установите толкатели лысками на приспособление ПИМ-640.030 ( рис. 164 ) или на подставку с отверстием и при помощи оправки выпрессуйте оси 27 ( см. рис. 158 ) из роликов 25.

Технические требования топливного насоса Т-170

  1. Наружный диаметр втулок кулачкового валика 42 мм; нормальный внутренний диаметр втулок 35±0,25 мм. В стенке передней втулки должно быть просверлено для прохода масла отверстие диаметром 8 мм на расстоянии (23±0,25) мм от торца втулки. Развертцу обеих втулок кулачкового валика производите совместно, чтобы обеспечить их соосностц.

  2. Посадка втулок в блоке насоса и корпусе подшипника с натягом 0,009...0,050 мм. Нормальный зазор между шеи ка ми кулачкового валика и отверстиями втулок должен быть в пределах 0,025...0,077 мм. Допустимый, зазор 0,13 мм; предельный зазор 0,18 мм. Втулка подшипника после запрессовки не должна выступать в крышке за торец прилегания упорной шайбы кулачкового валика.

  3. Втулки тяги рейки разверните совместно после запрессовки в корпусе насоса так, чтобы расстояние от оси втулок до нижней площадки паза под рейку было равно (24±0,1) мм. Посадка втулок в корпусе насоса с натягом 0,007...0,041 мм. Нормальный зазор между втулками и тягой рейки должен быть в пределах 0,03...0,074 мм. Допустимый зазор 0,15 мм.

  4. Шейки кулачкового валика при износе шлифуйте до диаметра не менее 33,5 мм.

  5. При перешлифовке передней шейки кулачкового валика перешлифуйте на тот же размер заднюю шейку валика привода насоса, так как обе эти шейки вращаются в одной и той же втулке. Для перешлифованных шеек изготовьте втулки с уменьшенным диаметром, обеспечив зазор между шейкой и втулкой в пределах 0,025...0,077 мм.

  6. Тяга рейки вместе с рейкой должна легко, без заеданий передвигаться из одного крайнего положения в другое от усилия не более 5 Н (0,5 кгс).

  7. Нормальный зазор между рейкой и направляющими в блоке топливного насоса должен быть в пределах 0,045...0,145 мм.

  8. Осевое перемещение (люфт) кулачкового валика, ограничиваемое упорной шайбой, допускается не более 0,7 мм. Предельный люфт 0,9 мм.

  9. При отжатой рейке до упора в направляющие пластины боковой зазор между, зубьями рейки и зубчатых секторов плунжеров- должен быть для всех четырех зубчатых секторов не более 0,15 мм.

Сборка топливного насоса Т-170

Сборка блока насоса

Запрессуйте в блок с помощью ступенчатой оправки и молотка втулки 6 ( см. рис. 162 ) тяги рейки -заподлицо с плоскостями блока насоса. Разверните втулки совместно под размер тяги рейки; обеспечив зазор между втулками и тягой в пределах 0,030...0,074 мм. Запрессуйте в блок переднюю втулку 7 так, чтобы торец втулки выступал за плоскость блока 5 на (22±0,42) мм. Запрессуйте в корпус 1 ( см. рис. 163 ) подшипника кулачкового валика бронзовую втулку 2 заподлицо с поверхностью выточки под упорную шайбу в корпусе подшипника.

Заверните до отказа в резьбовые отверстия на задней плоскости блока четыре Шпильки 1 ( см. рис. 162 ) крепления подшипника. Вставьте в блок и закрепите гайками корпус подшипника кулачкового валика с запрессованной в него втулкой. Разверните совместно переднюю втулку и втулку в корпусе подшипника.

После совместной развертки втулок выньте задний подшипник из блока насоса.

Запрессовка направляющих пальцев (I) в блок топливного насоса с помощью оправок (II)

Рис. 165. Запрессовка направляющих пальцев (I) в блок топливного насоса с помощью оправок (II)

Вставьте в отверстия под толкатели блока насоса две оправки 1 с лысками ( рис. 165 ).

Смажьте маслом направляющие пальцы 2 и запрессуйте их ударами медного молотка в блок насоса заподлицо с торцами бобышек. Выньте оправки из блока насоса. Непараллельность плоскости пальцев относительно образующих отверстия под толкатель допускается не более 0,05 мм.

Сборка кулачкового валика

Зажмите кулачковый валик 26 ( см. рис. 158 ) в вертикальном положении в тисках с медными губками, протрите и смажьте маслом заднюю шейку кулачкового валика и отверстие бронзовой втулки в корпусе 28 подшипника, наденьте корпус подшипника на шейку.

Протрите опорную плоскость упорной шайбы 29 и торец валика. Положите упорную шайбу на торец валика, совместив отверстия в ней с отверстиями в валике. Торец упорной шайбы должен утопать относительно плоскости фланца корпуса подшипника не более 0,16 мм. Положите на упорную шайбу замковую пластину 1 и закрепите упорную шайбу на валике двумя болтами 2.

Концы пластины после затяжки болтов отогните на грани головок болтов.

Сборка тяги рейки

Положите тягу 4 ( см. рис. 159 ) ушком на медную подставку. Смажьте маслом втулку 5 и запрессуйте ее в ушко тяги ударами медного молотка заподлицо с торцами ушка тяги.

Наденьте на тягу упорное кольцо 3, совместите отверстие в кольце с отверстием в тяге и вставьте стопорный штифт 1, а затем наденьте на выточку кольца пружинное кольцо 2.

Сборка толкателя с роликом

Установите толкатель ( см. рис. 164 ) на медную подставку или приспособление ПИМ-640.030, смажьте ось ролика маслом и ударами медного молотка предварительно запрессуйте ось (торцом с закругленной шлифованной кромкой) в отверстие одной стенки паза толкателя. Смажьте маслом отверстие в ролике и вставьте его в паз толкателя. Ударами медного молотка окончательно запрессуйте ось, пропустив через ролик, в отверстие1 толкателя так, чтобы торцы оси были утоплены относительно боковых плоскостей толкателя. Ролик должен вращаться на оси. Нормальный зазор между осью и отверстием в ролике должен быть в пределах 0;006...0,037 мм.

Общая сборка топливного насоса

Запрессуйте в накладку 9 ( см. рис. 160 ) штифт 7. Наденьте на штифт последовательно пластинчатую пружину 2 корректора, повернув ее длинным концом в сторону тяги рейки, подкладку 8 пружины. Вставьте собранный комплект штифтом 7 в отверстие блока и совместите Отверстия в этих деталях с резьбовыми отверстиями на плоскости блока. Положите на накладку стопорную пластину 1 и закрепите все детали корректора двумя болтами.

Законтрите болты, отогнув на грани их головок края пластины. На насос дизеля Д-160 и дизеля Д-160Б устанавливайте подкладку 8 толщиной 3,6 мм.

Проверьте после закрепления деталей корректора болтами размер от плоскости блока до конца пружины корректора. Этот размер должен быть (3,6+0,1) мм.

Промойте блок топливного насоса в керосине и проверьте чистоту топливных каналов специальным магнитным щупом. Заверните до упора в сбег резьбы шпильку 2 ( см. рис. 162 ) крепления прижима заглушки топливного канала. Наденьте на заглушку уплотнительное резиновое кольцо 14 ( см. рис. 158 ).

Вставьте заглушку в цилиндрическую выточку топливного канала и закрепите ее с помощью прижима гайкой с пружинной шайбой.

Поставьте блок на верхнюю плоскость. Вставьте в гнезда толкателей блока насоса пружины 7 толкателей. Смажьте толкатели 9 маслом и вставьте их в гнезда блока. Проверьте легкость перемещения толкателей в гнездах. Нормальный зазор между стержнем толкателя и отверстием в блоке допускается в пределах 0,020...0,063 мм. Нормальный зазор между цилиндрической поверхностью нижней направляющей части толкателя и отверстием в блоке допускается в пределах 0,025...0,077 мм. Зазор между плоскостью лыски толкателя и направляющим пальцем допускается в пределах 0,02...0,025 мм.

Наденьте на шпильки крепления заднего подшипника кулачкового валика прокладку, совместив отверстие для прохода масла в прокладке диаметром 5 мм с отверстием в блоке насоса.

Смажьте маслом переднюю шейку и кулачки кулачкового валика 26 и переднюю втулку в блоке, вставьте кулачковый валик, вместе с задним подшипником в блок, поворачивая валик так, чтобы кулачки проходили над толкателями своими затылками, и утопив толкатели в гнездах при прохождении под ними кулачков валика. Когда шейка валика войдет в переднюю втулку, окончательно посадите задний подшипник валика на шпильки.

Проверьте вращение кулачкового валика во втулках. Нормальный зазор между шейками валика и втулкой должен быть 0,025...0,077 мм.

Проверьте проволокой совпадение косого отверстия диаметром 4 мм в корпусе подшипника с отверстием в прокладке и блоке насоса.

Установите на корпус заднего подшипника прокладку толщиной (0,6+0,1) мм, смазав ее солидолом, и установите на шпильки крышку 30 подшипника. Закрепите крышку подшипника и подшипник четырьмя гайками с пружинными шайбами.

Проверьте осевое перемещение кулачкового валика, ограничиваемого упорной шайбой. Осевое перемещение (люфт) кулачкового валика допускается не более 0,7 мм. Предельный люфт кулачкового валика — 0,9 мм.

Установите на нижний фланец блока насоса прокладку, смазав предварительно «Герметиком». Заверните в нижнюю крышку переходный штуцер сливной трубки и коническую пробку 24. Установите и закрепите нижнюю крышку шестью болтами с пружинными шайбами.

Установите блок насоса кулачковым валиком вниз. Положите на толкатели 1 ( см. рис. 161 ) тарелки 2 и заверните в толкатели регулировочные хвостовики 4, навернув на них предварительно контргайки 3. Запрессуйте в отверстия верхней плоскости восемь установочных штифтов 4 ( см. рис. 162 ) под секции насоса так, чтобы они выступали над плоскостью на (6±0,6) мм. Запрессуйте топливоподводящие трубки 3. Торцы топливоподводящих трубок должны выступать над плоскостью на (10+0,45) мм. Отверстия топливоподводящих трубок заглушите деревянными пробками.

Смажьте втулки под тягу рейки графитной смазкой и вставьте тягу в сборе с упорным кольцом со стороны передней плоскости насоса. Наверните на конец тяги 4 ( см. рис. 160 ) рейки с резьбой муфту 6. Заложите в прорезь муфты и тяги стопорный угольник 5 и наверните гайку 3. Затяните гайку для контровки муфты после регулировки максимального выхода тяги рейки.

Установите секции. Между лапками хвостовика толкателя и шейкой плунжера должен быть зазор в любом положении хвостовика. Установите рейку с поводком в пазы блока насоса, заложив поводок в выточку тяги рейки. Нормальный зазор между торцами выточки в тяге и поводком 0,020...0,130 мм.

Закрепите рейку направляющими пластинами 17 ( см. рис. 158 ) с болтами и пружинными шайбами. Направляющие пластины установите соответствующего варианта, чтобы обеспечить при отжатой рейке до упора в направляющие пластины боковой зазор между зубьями рейки и зубчатых секторов не более 0,15 мм. Проверьте легкость перемещения тяги рейки вместе с рейкой из одного крайнего положения в другое и совпадение меток на рейке и зубьях секторов.

Проверьте боковой зазор в зацеплениях зубьев секторов и рейки. Проверяйте прижатием рейки до упора в зубчатые секторы и замера щупом зазора А между плоскостями направляющих пластин и рейки ( см. рис. 156 ). Этот зазор допускается не более 0,25 мм. Проверяйте зазоры отдельно для I и IV и для II и III секций.

Направляющие пластины рейки

Рис. 166. Направляющие пластины рейки
А — место обозначения номера варианта; I — вариант 1; II — вариант 2; III — вариант 3; IV — вариант 4; V — вариант 5; VI — вариант 6

Для обеспечения нормального бокового зазора между зубьями рейки и зубчатых секторов допускается установка направляющих пластин со ступенчатой плоскостью прилегания с размерами, согласно рис. 166.

Маркировка направляющих пластин рейки и блока насоса

Рис. 167. Маркировка направляющих пластин рейки и блока насоса

Номер варианта направляющей пластины нанесите на соответствующей опоре рейки в месте Е ( рис. 167 ). Окончательно закрепите на рейке 20 ( см. рис. 158 ) поводок 18 призонным болтом с пружинной шайбой.

Положите на фланец крышки 5 корректора прокладку и прикрепите крышку к блоку двумя болтами с отверстием в головке и простым болтом с пружинными шайбами.

Положите на фланец крышки 19 бокового люка блока насоса прокладку и прикрепите крышку к блоку насоса болтами с пружинными шайбами.

Вверните в заливное отверстие блока насоса пробку 21. Установите топливоподкачивающий насос 22.

Секции, крышку корректора и крышку бокового люка блока насоса устанавливайте после регулировки толкателей на момент подачи и установки рейки в положение полной подачи.

Установка топливного насоса Т-170

Наденьте на топливоподводящую трубку 3 ( см. рис. 168 ) корпуса регулятора резиновое уплотнительное кольцо. Наденьте на шпильки корпуса регулятора паронитовую прокладку толщиной 0,5...0,7 мм. Наденьте топливный насос на шпильки корпуса регулятора, вставив выступающую часть передней втулки кулачкового валика насоса в отверстие корпуса регулятора на шейку вала привода к насосу и регулятору.

Окончательно посадите топливный насос на шпильки и установочный штифт до прилегания фланцев и закрепите насос гайками с пружинными шайбами.

Соедините тягу рейки топливного насоса с двуплечим рычагом регулятора соединительной тягой при помощи оси и двух шплинтов. Установите крышку бокового люка регулятора. Подсоедините к переходному штуцеру, ввернутому в нижнюю крышку насоса, сливную трубку. Подсоедините топливопроводы к топливоподкачивающему насосу 22.

Ремонт топливного насоса