Запасные части ЧТЗ Запасные части ЧТЗ
Семей
Например:
Актобе
Алдан
или
Выбрать автоматически
Актобе
Алдан
Алматы
Алчевск
Архангельск
Астана
Астрахань
Атырау
Баку
Балашиха
Барнаул
Белгород
Бердянск
Бишкек
Владивосток
Владикавказ
Воркута
Воронеж
Горловка
Грозный
Донецк
Екатеринбург
Иваново
Ижевск
Иркутск
Казань
Калининград
Каменск-Уральский
Караганда
Каховка
Кемерово
Киров
Комсомольск-на-Амуре
Костанай
Краснодар
Красноярск
Красный луч
Ленск
Луганск
Магадан
Магнитогорск
Макеевка
Махачкала
Мелитополь
Минск
Мирный (Якутия)
Москва
Мурманск
Нерюнгри
Нижневартовск
Нижний Новгород
Нижний Тагил
Новая каховка
Новокузнецк
Новосибирск
Новый Уренгой
Норильск
Ноябрьск
Нур-Султан
Омск
Оренбург
Ош
Павлодар
Пермь
Петрозаводск
Петропавловск
Петропавловск-Камчатский
Псков
Ростов-на-Дону
Салехард
Самара
Санкт-Петербург
Саратов
Севастополь
Семей
Симферополь
Сочи
Ставрополь
Сургут
Сыктывкар
Тараз
Ташкент
Токмак
Томск
Тында
Тюмень
Ульяновск
Усинск
Усть-Каменогорск
Уфа
Хабаровск
Ханты-Мансийск
Херсон
Челябинск
Чита
Шымкент
Экибастуз
Энергодар
Южно-Сахалинск
Якутск
Ваш город
Семей
Войти
Запасные части к тракторам на одном сайте
+7 (932) 303-00-10
+7 (932) 303-00-10
г. Семей, ул. Оборонная, д. 63/1а
Пн-Пт: 9:30-18:30 Cб-Вс: Выходной
Отправить заявку


Ремонт работомера Т-170 Б-170 ТНВД трактора в Семей


/
с НДС 20%
Описание

Снятие работомера Т-170

Установка работомера

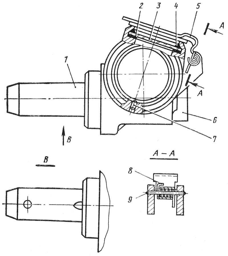
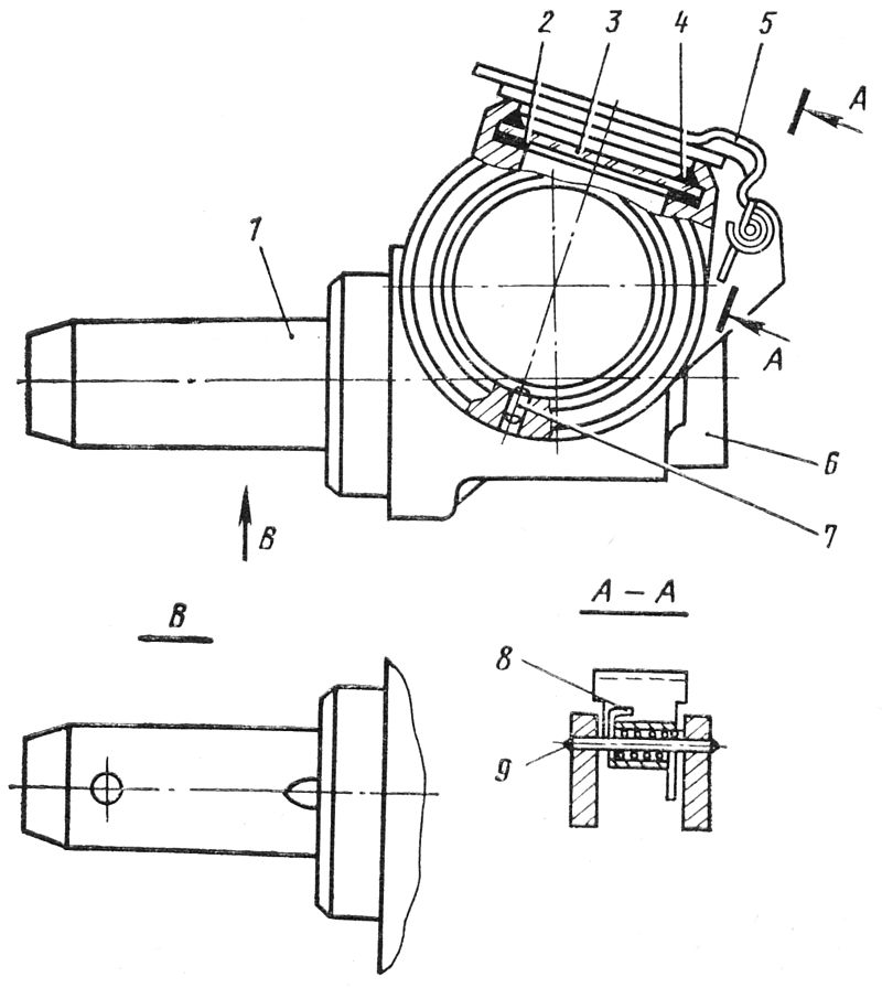
Рис. 143. Установка работомера

Отсоедините от работомера вентиляционную трубку 2 ( рис. 143 ). Выверните два болта 1 крепления и снимите работомер с прокладкой с корпуса регулятора.

Разборка работомера Т-170

Работомер

Рис. 144. Работомер

Выверните крышку 2 ( рис. 144 ) из корпуса 9. Выньте счетный механизм 10 и валик 5 привода со спиральной шестерней 7. Высверлите сверлом диаметром 3 мм стопорный штифт 6 шестерни и спрессуйте шестерню с валика.

Отверните оба болта и снимите фланец 12 с прокладкой 11. Выпрессуйтё через отверстие в корпусе работомера корпус подшипника 8 при помощи оправки, манжету 4 из корпуса подшипника.

Снимите крышку 3 циферблата, зачистив расклепанный конец штифта 9 ( рис. 145 ) и выбив штифт из отверстий приливов корпуса работомера.

Корпус работомера

Рис. 145. Корпус работомера

При необходимости, удалите острым инструментом свинец из выточки под стекло циферблата и выньте стекло с резиновой прокладкой. Удаление свинца и снятие стекла производите в крайнем случае нагревом корпуса до выплавления свинца.

Технические требования на работомер Т-170

  1. Зазор между валиком привода счетного механизма и отверстием корпуса подшипника 0,016...0,068 мм. При увеличении зазора более 0,3 мм замените валик или подшипник.
  2. После установки работомера и закрепления его на корпусе регулятора валик природа насоса и регулятора должен проворачиваться без заеданий.

Сборка работомера Т-170

Запрессуйте, в корпус подшипника 1 манжету пружинкой внутрь корпуса. Запрессуйте в корпус 6 работомера корпус подшипника так, чтобы наклонное отверстие для. слива масла из внутренней полости подшипника после установки работомера оказалось снизу.

Протрите пазы для смотрового стекла, уложите в паз корпуса работомера прокладку 2, затем стекло циферблата 3 окрашенной стороной внутрь, вставьте свинцовый ободок 4 и развальцуйте по окружности.

Вставьте в отверстие ушка крышки 5 циферблата пружину 8. Заведите один конец пружины в прорезь ушка крышки и заверните пружину на один-два оборота. Вставьте крышку в паз между приливами на корпусе работомера так, чтобы длинный конец пружины упирался в корпус. Соедините крышку циферблата с приливами корпуса работомера штифтом 9. Концы штифта расклепайте. Крышка циферблата должна плотно приживаться к корпусу работомера.

Запрессуйте в корпус 6 работомера цилиндрический стопорный штифт 7 так, чтобы он выступал внутрь корпуса на 1,5 мм.

Посадите на валик привода спиральную шестерню 7 ( см. рис. 144 ) так, чтобы расстояние от торца валика до торца ступицы шестерни было равно 8...8,5 мм. Просверлите отверстие диаметром 3 мм через ступицу шестерни и валик, забейте штифт. Закерните отверстие в шестерне под штифт с двух сторон.

Установите валик 5 привода работомера в корпус подшипника, а затем счетный механизм в корпус 9. Счетный механизм предварительно смажьте, погрузив червячным колесом до первого цифрового барабана в ванну с жировой смазкой 1-13.

При установке счетного механизма проследите через окно фланца 12 зацепление шестерни счетного механизма с червяком приводного валика. При необходимости валик проверните в нужную сторону до правильного зацепления шестерен с червяком. При установке счетного механизма штифт 7 ( см. рис. 145 ) должен войти в прорезь заднего диска счетного механизма.

Наденьте на крышку 2 ( см. рис. 144 ) работомера прокладку 1 и вверните крышку с пружинной шайбой в корпус до отказа. Установите фланец 12 с прокладкой 11 на корпус работомера и закрепите фланец болтами с шайбами.

Вверните в корпус работомера штуцер вентиляционной трубки. После сборки проверьте вращение валика работомера. Вращение валика от руки должно быть легким, без заеданий.

Установка работомера Т-170

Наденьте на фланец работомера прокладку, смазав ее солидолом. Вставьте работомер спиральной шестерней в отверстие корпуса регулятора и, поворачивая валик привода насоса и регулятора, введите в зацепление спиральную шестерню работомера со спиральной шестерней на валике привода насоса и регулятора. Посадите окончательно рабодомер легкими ударами медного молотка по корпусу в расточку регулятора и закрепите его двумя болтами 1 ( см. рис. 143 ) с пружинными шайбами. Подсоедините к штуцеру работомера вентиляционную трубку 2 от регулятора.

Ремонт работомера