Запасные части ЧТЗ Запасные части ЧТЗ
Семей
Например:
Актобе
Алдан
или
Выбрать автоматически
Актобе
Алдан
Алматы
Алчевск
Архангельск
Астана
Астрахань
Атырау
Баку
Балашиха
Барнаул
Белгород
Бердянск
Бишкек
Владивосток
Владикавказ
Воркута
Воронеж
Горловка
Грозный
Донецк
Екатеринбург
Иваново
Ижевск
Иркутск
Казань
Калининград
Каменск-Уральский
Караганда
Каховка
Кемерово
Киров
Комсомольск-на-Амуре
Костанай
Краснодар
Красноярск
Красный луч
Ленск
Луганск
Магадан
Магнитогорск
Макеевка
Махачкала
Мелитополь
Минск
Мирный (Якутия)
Москва
Мурманск
Нерюнгри
Нижневартовск
Нижний Новгород
Нижний Тагил
Новая каховка
Новокузнецк
Новосибирск
Новый Уренгой
Норильск
Ноябрьск
Нур-Султан
Омск
Оренбург
Ош
Павлодар
Пермь
Петрозаводск
Петропавловск
Петропавловск-Камчатский
Псков
Ростов-на-Дону
Салехард
Самара
Санкт-Петербург
Саратов
Севастополь
Семей
Симферополь
Сочи
Ставрополь
Сургут
Сыктывкар
Тараз
Ташкент
Токмак
Томск
Тында
Тюмень
Ульяновск
Усинск
Усть-Каменогорск
Уфа
Хабаровск
Ханты-Мансийск
Херсон
Челябинск
Чита
Шымкент
Экибастуз
Энергодар
Южно-Сахалинск
Якутск
Ваш город
Семей
Войти
Запасные части к тракторам на одном сайте
+7 (932) 303-00-10
+7 (932) 303-00-10
г. Семей, ул. Оборонная, д. 63/1а
Пн-Пт: 9:30-18:30 Cб-Вс: Выходной
Отправить заявку


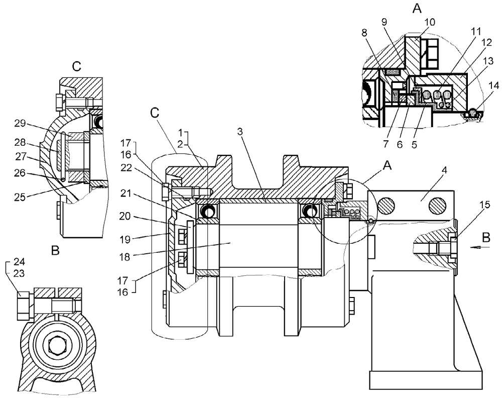
Каток поддерживающий на Т10М / Б10М


/
с НДС 20%
Описание
Каток поддерживающий на Т10М
#Номер запчастиНаименование деталиКол-во в сборке
-50-21-416CПКаток поддерживающий2
150-21-425СПКаток поддерживающий1
250-21-417CП
50-21-417-01СП
Ролик1
350-21-395-01
50-21-434-01
Втулка1
450-21-314-01Кронштейн1
5Кат-40-5432Манжета1
624-21-126Кольцо1
724-21-127Кольцо1
8Кат-40-5019Прокладка1
924-21-130Обойма1
1050-21-419СПУпор1
11700-38-2568Пружина1
1250-21-398Лабиринт1
13700-58-2369Кольцо пружинное1
14700-58-2624Кольцо пружинное1
15700-37-2240Пробка1
16-
2816
Болт М12-6g×30.88.35.019
Болт
14, 12 1
17-Шайба 12 ОТ 65Г 09
Шайба 12 ОТ 65Г 09
14, 12 1
1864-21-155Ось1
1950-21-436Крышка1
2064-21-156Пластина1
21-Подшипник 3112
22Кат-21-60-03Кольцо2
23-Болт М20×1,5×622
24-Шайба 20 ОТ 65Г 092
2550-21-318 1Кольцо1
2635-21-37 1Шплинт1
2750-21-385 1Крышка1
2850-21-396 1Ось1
29700-30-2195 1Гайка1
1 Использовать при наличии оси 50-21-396.
Каток поддерживающий